Vous trouverez ici toutes les pièces et dessins disponibles du 'Metabo 0910019937-10 ( UNIVERSALFENCEUK220 )'. De là, vous pouvez commander directement toutes les pièces souhaitées. De nombreuses pièces doivent être commandées auprès du fabricant, selon la marque, cela prend une à quatre semaines. Toutes les informations dont nous disposons se trouvent sur notre site Web, nous ne pouvons pas vous conseiller sur ce dont vous avez besoin, pour cela vous devrez retourner la machine pour réparation. Veuillez noter ce qui suit lors de la commande:
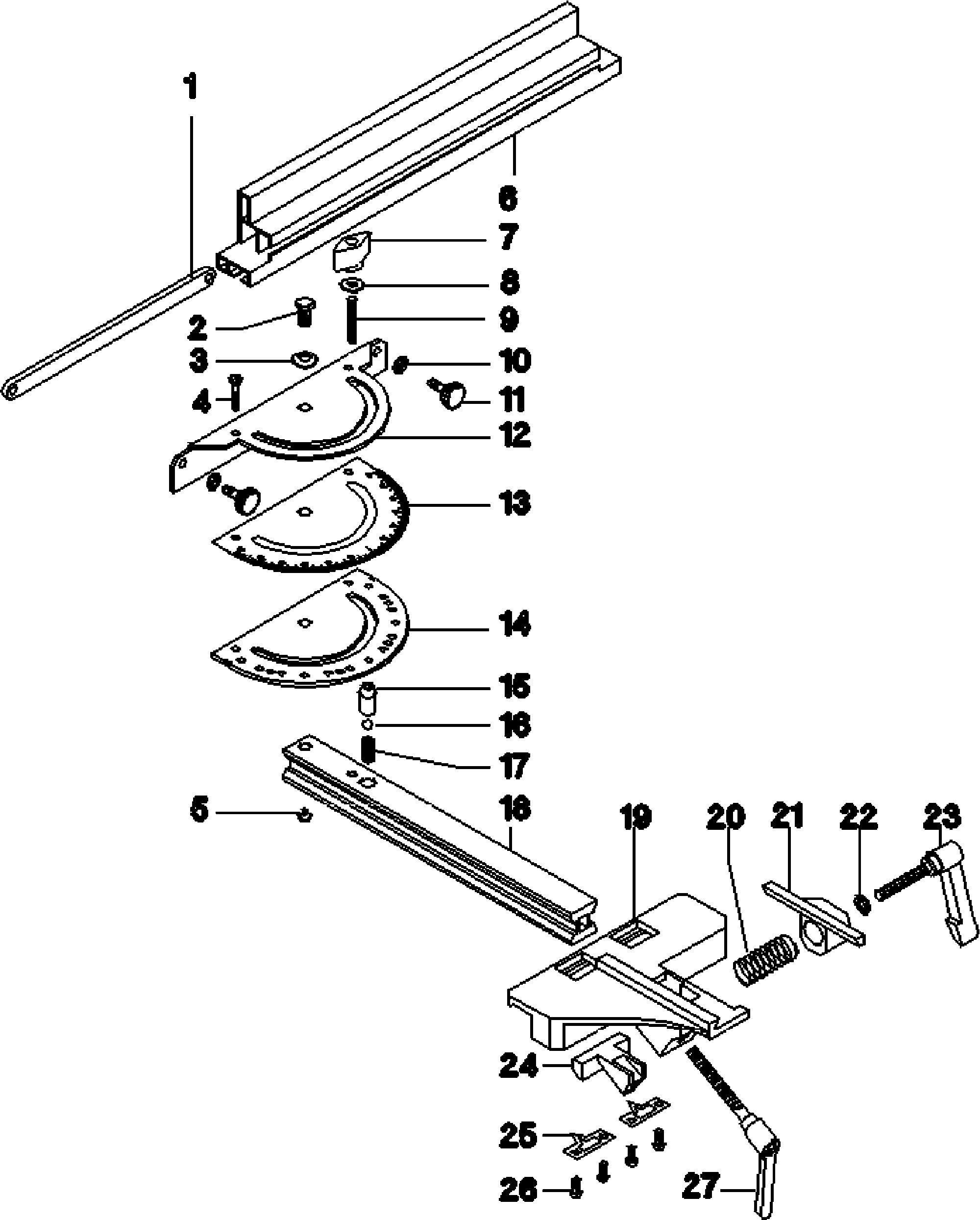
Dessins des Metabo 0910019937-10 ( UNIVERSALFENCEUK220 )
Liste de pièces de rechange des Metabo 0910019937-10 ( UNIVERSALFENCEUK220 )
| Pos. | Description | Prix hors TVA | Prix TTC | |
| Les prix affichés incluent la TVA | ||||
| Pas d'informations disponibles, non commandable | ||||
| 1 | 1482214548 | |||
| Vis à collet | ||||
| 2 | 1485209480 | 2.28 | 2.74 | |
| Ressort conique | ||||
| 3 | 141150540 | 1.56 | 1.87 | |
| Pas d'informations disponibles, non commandable | ||||
| 4 | 6123662723 | |||
| Plus disponible, pas de remplacement | ||||
| 5 | 2391202772 | |||
| Pas d'informations disponibles, non commandable | ||||
| 6 | 1383657489 | |||
| Pas d'informations disponibles, non commandable | ||||
| 7 | 7005125213 | |||
| Rondelle | ||||
| 8 | 141150130 | 1.56 | 1.87 | |
| Goupille conique avec cône Morse | ||||
| 9 | 6161183502 | 1.56 | 1.87 | |
| Rondelle | ||||
| 10 | 141151940 | 1.56 | 1.87 | |
| Vis à molette M 6X16 / RD 20 galv. | ||||
| 11 | 6143075468 | 1.68 | 2.02 | |
| Pas d'informations disponibles, non commandable | ||||
| 12 | 1382656721 | |||
| MESURE D'ANGLE | ||||
| 13 | 1142216716 | 11.74 | 14.09 | |
| Pas d'informations disponibles, non commandable | ||||
| 14 | 1482216702 | |||
| GOUPILLE DE BLOCAGE GUIDE D'ANGLE DROIT | ||||
| 15 | 1485215979 | 3.71 | 4.45 | |
| BOULE D'ACIER RD 7,938 | ||||
| 16 | 7123148635 | 1.55 | 1.86 | |
| RESSORT DE PRESSION GUIDE D'ANGLE | ||||
| 17 | 7051148694 | 1.55 | 1.86 | |
| Guide de queue d'aronde | ||||
| 18 | 1383221990 | 26.95 | 32.34 | |
| Corps de Serrage Guide d'Angle Droit | ||||
| 19 | 1380656732 | 53.86 | 64.63 | |
| Ressort de compression | ||||
| 20 | 7051207240 | 1.55 | 1.86 | |
| Crochet de Serrage | ||||
| 21 | 1380655795 | 10.38 | 12.46 | |
| Rondelle | ||||
| 22 | 141151340 | 1.56 | 1.87 | |
| Pas d'informations disponibles, non commandable | ||||
| 23 | 1010657578 | |||
| Pas d'informations disponibles, non commandable | ||||
| 24 | 1380222031 | |||
| Pointeur guide d'angle droit | ||||
| 25 | 1482216010 | 1.68 | 2.02 | |
| Vis à tête fraisée | ||||
| 26 | 6172028215 | 1.56 | 1.87 | |
| Plus disponible, pas de remplacement | ||||
| 27 | 1010657560 | |||