Vous trouverez ici toutes les pièces et dessins disponibles du 'Festool 10011341 ( GM145 )'. De là, vous pouvez commander directement toutes les pièces souhaitées. De nombreuses pièces doivent être commandées auprès du fabricant, selon la marque, cela prend une à quatre semaines. Toutes les informations dont nous disposons se trouvent sur notre site Web, nous ne pouvons pas vous conseiller sur ce dont vous avez besoin, pour cela vous devrez retourner la machine pour réparation. Veuillez noter ce qui suit lors de la commande:
En raison d'une réorganisation au sein de Festool, les commandes Festool ne seront pas livrées avant la seconde moitié de janvier 2026.
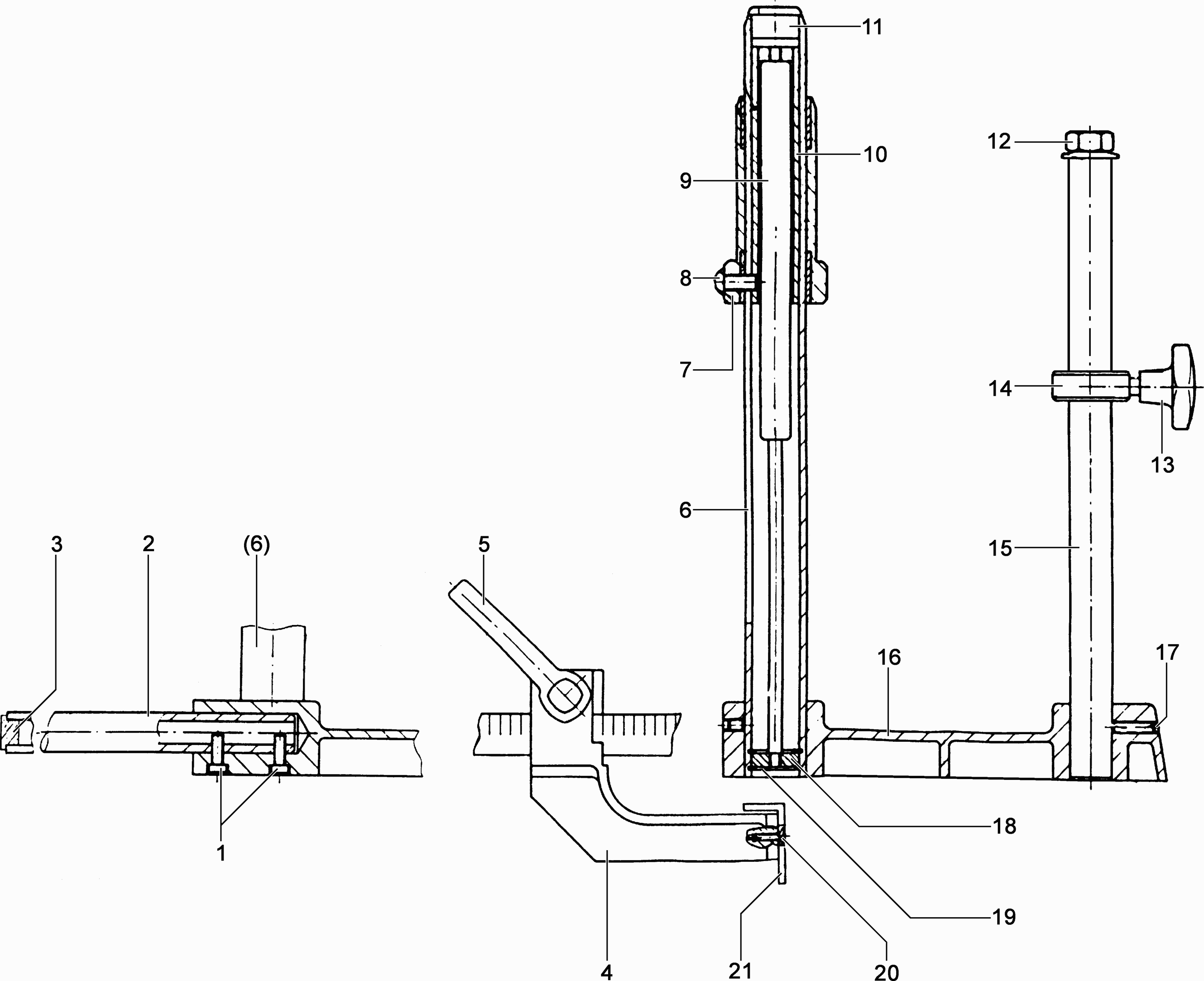
Dessins des Festool 10011341 ( GM145 )
Liste de pièces de rechange des Festool 10011341 ( GM145 )
| Pos. | Description | Prix hors TVA | Prix TTC | |
| Les prix affichés incluent la TVA | ||||
| Vis à tête cylindrique | ||||
| 1 | 830226 | 1.58 | 1.90 | |
| Rail de butée | ||||
| 2 | 633798 | 89.78 | 107.74 | |
| Pas d'informations disponibles, non commandable | ||||
| 3 | 633828 | |||
| Pas d'informations disponibles, non commandable | ||||
| 4 | 633747 | |||
| Pince M10 | ||||
| 5 | 633720 | 29.52 | 35.42 | |
| Tube | ||||
| 6 | 633704 | 133.34 | 160.01 | |
| Support de moteur | ||||
| 7 | 633771 | 89.78 | 107.74 | |
| Vis à tête bombée M8 x 16 | ||||
| 8 | 633917 | 2.71 | 3.25 | |
| Plus disponible, pas de remplacement | ||||
| 9 | 633836 | |||
| Douille de guidage | ||||
| 10 | 633925 | 52.76 | 63.31 | |
| Pas d'informations disponibles, non commandable | ||||
| 11 | 633801 | |||
| Ecrou hexagonal | ||||
| 12 | 631973 | 13.92 | 16.70 | |
| Pas d'informations disponibles, non commandable | ||||
| 13 | 664049 | |||
| Bague de réglage | ||||
| 14 | 633712 | 28.80 | 34.56 | |
| Support de guidage | ||||
| 15 | 633844 | 81.19 | 97.43 | |
| Pas d'informations disponibles, non commandable | ||||
| 16 | 633690 | |||
| Goujon fileté | ||||
| 17 | 832653 | 1.58 | 1.90 | |
| Pas d'informations disponibles, non commandable | ||||
| 18 | 633860 | |||
| Circlips | ||||
| 19 | 433314 | 2.18 | 2.62 | |
| Vis à tête fraisée M5 x 12 | ||||
| 20 | 414131 | 5.21 | 6.25 | |
| Pas d'informations disponibles, non commandable | ||||
| 21 | 633739 | |||